Ever SINLINE 800 Zasilacz Awaryjny SINLINE800
Ever SINLINE 800 Zasilacz Awaryjny SINLINE800
Generacja zasilaczy serii SINLINE umożliwia pełna ochronę zasilania zaawansowanych serwerów jedno
i wieloprocesorowych, komputerów PC, terminali komputerowych oraz małych i średnich sieci.
CHARAKTERYSTYKA
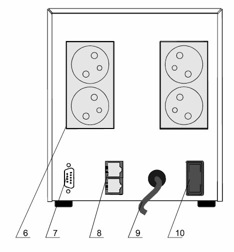
- Interfejs komunikacyjny RS232
- AVR - układ automatycznej regulacji napięcia sieciowego
- Filtr telekomunikacyjny
- PowerSoft Personal - oprogramowanie monitorujące gwarantujące pełna kontrole stanowisk komputerowych
Seria SINLINE wyposażona jest w unikalne, opracowane przez inżynierów EVER, systemy:
- CDS - Clear Digital Sinus -
- CBC - Cool Battery Charging -
umożliwia generacje na wyjściu zasilacza UPS napięcia o czystym, sinusoidalnym
kształcie przy pracy bateryjnej
szybki i sprawny układ ładowania, który powoduje skrócenie czasu ładowania oraz
wydłużenie okresu eksploatacji akumulatora zasilacza awaryjnego
ZABEZPIECZENIA
- Przeciażeniowe
- Przeciwzwarciowe
- Przeciwprzepięciowe
- Przed nieprawidłowym podłączeniem
| Tabela parametryczna | |
|---|---|
|
Moc pozorna
|
800 VA |
|
Architektura UPS-a
|
line-interactive |
|
Liczba faz na wejściu
|
1 (230V) |
|
Typ obudowy
|
tower |
|
Komunikacja
|
Serial Port (RS-232) |
|
Kolor
|
czarny |
|
Wymiary
|
190 x 165 x 480 mm |
|
Waga
|
14 kg |
|
Kolor
|
Czarny |
ups-sinline-800-1200-1600-2000-3000.pdf, UPS SINLINE 800 Karta Katalogowa



